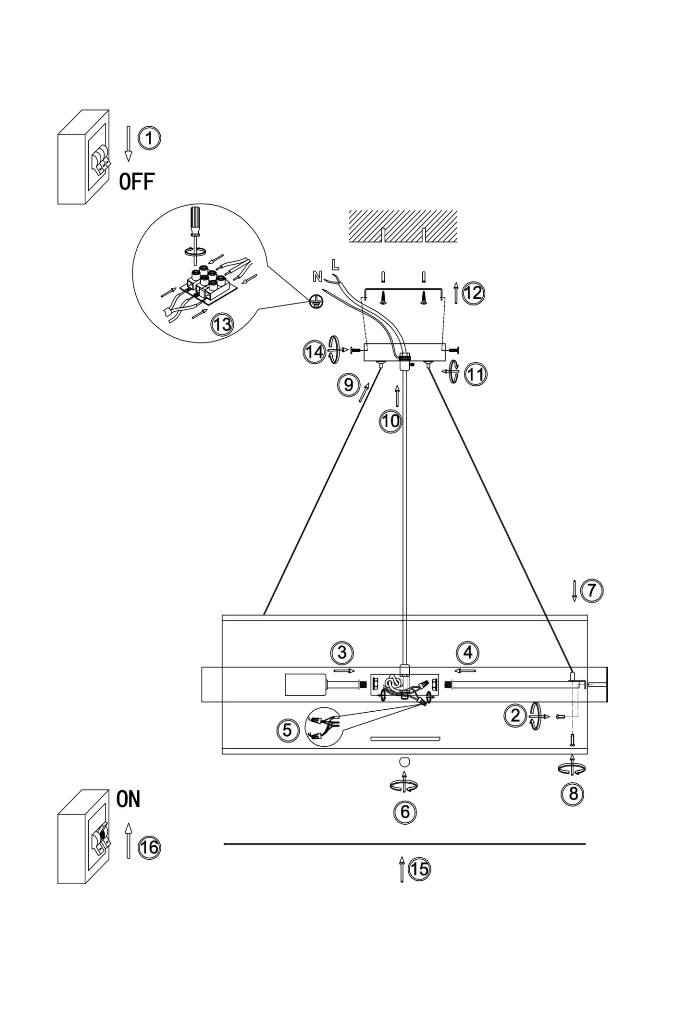
Люстра VASMAR 34371
Знижки на VASMAR
При розрахунку знижки враховуються товари всіх брендів в одному замовленні
Доставка
Колекція Bride

Світильник настінний VASMAR 33219

Люстра VASMAR 33218

Бра VASMAR 33319

Бра VASMAR 33318

Люстра VASMAR 18886

Люстра VASMAR 18893
Характеристики
Загальні
Дизайн
Технічні характеристики
Лампочки
Відгуки
Доставка, оплата, гарантія
Доставка здійснюється з понеділка по п'ятницю з 12.00 до 18.00. Узгоджені замовлення на товар з наявності доставляються протягом 1-2 робочих днів. Дату і час називає менеджер при оформленні замовлення.
Для з'ясування можливості доставки в інший час необхідно зв'язатися з нами за телефоном або написати в коментарях до замовлення. При отриманні замовлення перевірте цілісність упаковки і вмісту.
У разі виявлення дефектів обов'язково зв'яжіться з нашими менеджерами. Претензії по механічним пошкодженням приймаються під час отримання замовлення.
Гарантія 12 міс. від виробника.
Наша компанія пропонує безпечну доставку замовлень. Всі вантажі перед відправкою перевіряються і страхуються на повну вартість. Ми працюємо тільки з надійними перевізниками.
Відправимо декларацію після 18:00